等速ジョイント 産業機械用
トルク容量が大きく耐久寿命が長い!信頼性の高い産業機械用等速ジョイント
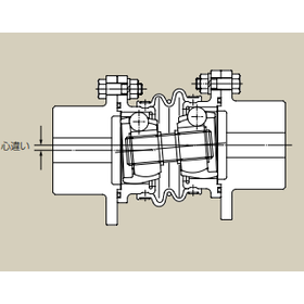
当社で取り扱っている「等速ジョイント 産業機械用」に ついてご紹介いたします。 回転が等速に伝達でき、伝達効率が高いことが特長。 二次モーメントが小さく、回転が円滑で静粛であり、 取扱いが簡単で一般には給脂が不要です。 固定式ディスク形、固定式カップ形、しゅう動式、 カップリング式の4種類をラインアップ。使用条件に 合わせて好適な形式を選定いただけます。 【特長】 ■回転が等速に伝達可能 ■トルク容量が大きい ■耐久寿命が長く信頼性が高い ■伝達効率が高い ■二次モーメントが小さい ■回転が円滑で静粛 ※詳しくはPDFをダウンロードしていただくか、お気軽にお問い合わせください。
基本情報
【種類と許容角度】 ■固定式ディスク形(BJ75D~BJ300D):14°~18° ■固定式カップ形(BJ75C~BJ225C):25° ■しゅう動式フランジ形 ・DOJ68F~DOJ200F:20° ・DOJ225F~DOJ625F:8°~10° ■カップリング式(BC68~BC200):5° ※詳しくはPDFをダウンロードしていただくか、お気軽にお問い合わせください。
価格帯
納期
用途/実績例
【用途例】 ■製鉄機械の圧延機ワークロール、ピンチロール、テンションリールなどの駆動軸 ■化学機械のカレンダロール駆動軸 ■建設機械の油圧ポンプ駆動軸 ■衛生、食品、包装機械の駆動軸 ■工作機械、印刷機の駆動軸 ■農業用トラクタの作業機駆動軸 ※詳しくはPDFをダウンロードしていただくか、お気軽にお問い合わせください。






















































